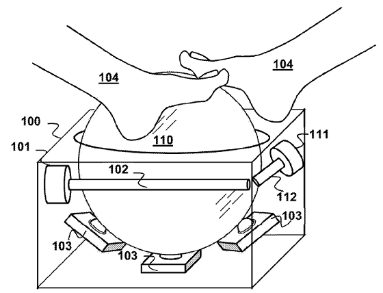
ソニーが「2個の巨大な球体を足で転がす形式のコントローラー」の特許を申請していることが明らかになりました。
(省略)
全文
https://gigazine.net/news/20231226-sony-dual-sphere-foot-controller/
続きを読む
ソニーが「2個の巨大な球体を足で転がす形式のコントローラー」の特許を申請していることが明らかになりました。
(省略)
全文
https://gigazine.net/news/20231226-sony-dual-sphere-foot-controller/